产品中心

Products

当前位置:首页>产品中心>分析仪器>瑞士Keller AG>

瑞士Keller AG PD-10L系列压力传感器

更新时间:2025-07-26

浏览量:1312

  • 品牌:瑞士Keller AG
  • 型号:PD-10L系列
  • 描述:瑞士Keller AG PD-10L系列的压力传感器被设计为适合差压测量。这些OEM压力传感器的内部有一个硅膜片,从两侧加压来直接测量压差。这种设计使它们能够测量微小的压差,即使在极高的管路静压下。...
  • 在线订购
  • 微信咨询

    QQ咨询

    在线客服

产品介绍

瑞士Keller AG PD-10L系列压力传感器描述:

数据表 用户手册

瑞士Keller AG PD-10L系列的压力传感器被设计为适合差压测量。这些OEM压力传感器的内部有一个硅膜片,从两侧加压来直接测量压差。这种设计使它们能够测量微小的压差,即使在极高的管路静压下。

管路压力:200 bar

压力量程:0…0,1到0…30 bar

精度:± 0,25 %FS

长时间稳定性:± 0,15 %FS

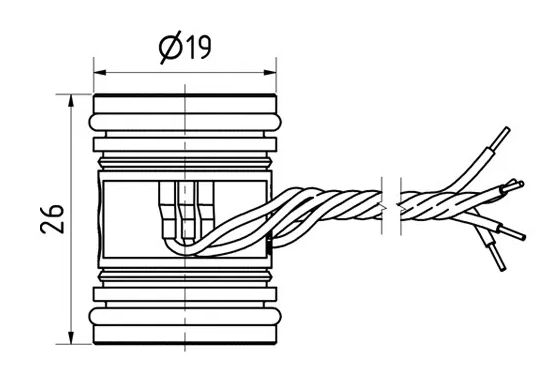
尺寸:⌀ 19 mm x 26 mm

温度范围:-40…125 °C

素描

咨询微信客服

咨询微信客服

QQ在线客服

客服热线:

0I0-52867770
0I0-52867771
I3811111452
I7896005796

技术支持

0I0-52867774
I7896005796
收起

扫一扫,关注官方账号

扫一扫,关注官方账号

010-52867771

在线客服